Ifm Flow Switch Manual Sa5000

Sa5000 Flow Sensor Eclass 27273101 27 27 31 01

Sa5000 Flow Sensor Eclass 27273101 27 27 31 01

Sa5000 Flow Sensor Ifm Electronic

Sa5000 Flow Sensor Ifm Electronic

Flow Sensor Ifm Efector Sa5000 Automation24

Flow Sensor Ifm Efector Sa5000 Automation24

Sa5000 Iag Se Manualzz

Sa5000 Iag Se Manualzz

Sa5000 Flow Sensor Ifm Electronic

Sa5000 Flow Sensor Ifm Electronic

Ifm Sa5000 Ct Precise

Ifm Sa5000 Ct Precise

Ifm Sa5000 Ct Precise

Ifm flow switch manual sa5000.

Ifm flow switch manual sa5000.

Ifm efector si5010 manualifm flow switch si5000 manual. Ifm s10558 flow switch. Get best price and read about company. Thermal flow switch m12x1 5 1 output 19 36vdc pnp 45mm probe si series.

Ifm flow switch si0558. Ifm electronic gmbh created date. Get contact details and address id. Ifm flow switch sh0500.

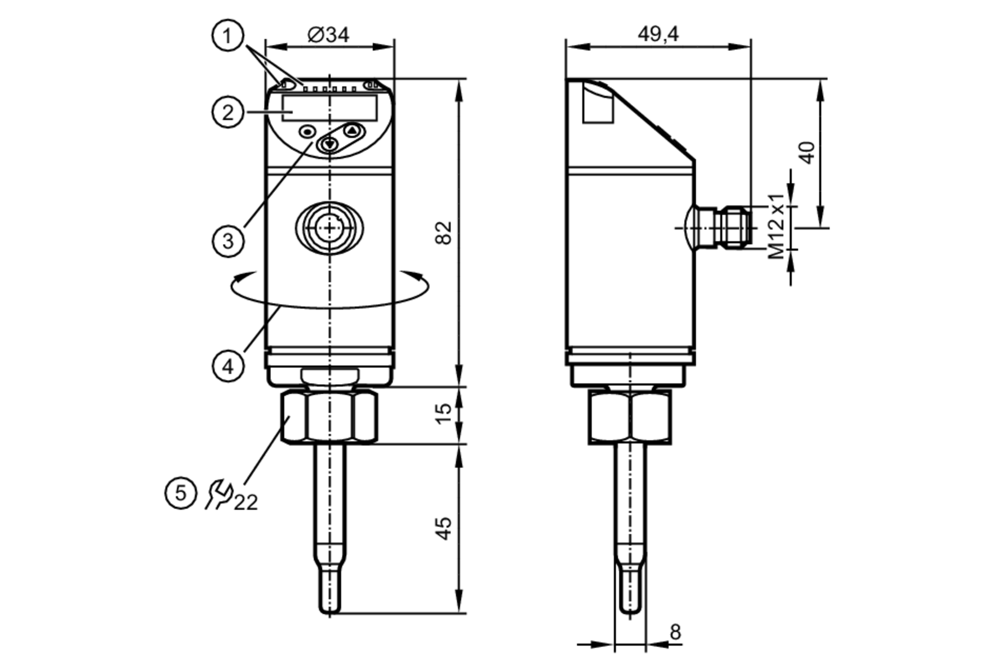
The flow monitor sa5000 from ifm electronic with a programmable output measures liquid and gaseous media in a setting range of 00 19 5 ft s liquid media or 0 656 ft s gaseous media at a pressure resistance up to 100 bar. 1100 atwater drive malvern pa 19355 we reserve the right to make technical alterations without prior notice. 3 10 2016 7 47 20 am. 1 8 s t09 in each case the value applies if the relative mode in case of factory setting rel is selected for other operating modes the following values apply.

Due to the variable process connection internal thread m18 x 1 5 for adapter the flow monitor sa5000 integrates easily. Gb sa5000 09 10 2015 sa5000 sad10xdbfrkg us 100 flowsensors. Estimated lead time. En gb sa5000 01 10 12 2019 accessory headline.

Number of analogue. The value applies in case of air with 10 m s flow velocity value applies to water other media. Number of digital outputs 2. 6 8 weeks.

Accrete automation india private limited offering ifm flow sensor sa5000 in delhi delhi. Ifm sn0150 flow switch manual. Ifm electronic gmbh friedrichstraße 1 45128 essen we reserve the right to make technical alterations without prior notice. Si5000 from ifm efector at allied electronics automation.

Ifm Electronic Flow Sensor Sa5000 Sad10xdbfrkg Us 100

Ifm Electronic Flow Sensor Sa5000 Sad10xdbfrkg Us 100

Calorimetric Flowmeter For Liquids And Gases October 2017 Ifm South Africa Sa Instrumentation Control

Calorimetric Flowmeter For Liquids And Gases October 2017 Ifm South Africa Sa Instrumentation Control

Combined Measurement Flow Sensor With Integrated Temperature Measurement Youtube

Combined Measurement Flow Sensor With Integrated Temperature Measurement Youtube

Ehkzo Xv Takym

Ehkzo Xv Takym

Sm6004 Magnetic Inductive Flow Meter Ifm Electronic

Sm6004 Magnetic Inductive Flow Meter Ifm Electronic

Pi2797 Flush Pressure Sensor With Display Ifm Electronic

Pi2797 Flush Pressure Sensor With Display Ifm Electronic

Ifm Electronic

Ifm Electronic

How To How Do I Program The Flow Monitor Si5000 Youtube

How To How Do I Program The Flow Monitor Si5000 Youtube

How To How Do I Correctly Set An Ifm Evaluation Unit For Speed Monitoring Youtube

How To How Do I Correctly Set An Ifm Evaluation Unit For Speed Monitoring Youtube

Https Www Ifm Com Binaries Content Assets Pdf Files Nz Ifm Nz General 2020 Web Pdf

Https Www Ifm Com Binaries Content Assets Pdf Files Nz Ifm Nz General 2020 Web Pdf

Io Link We Connect You Ifm 2016 English

Io Link We Connect You Ifm 2016 English

Si5000 Youtube

Si5000 Youtube

Vtv12a Vibration Transmitter Ifm Electronic

Vtv12a Vibration Transmitter Ifm Electronic

How To Configure Ifm Io Link Master Device Al1100 With Siemens Tia Portal Gallop Automation

How To Configure Ifm Io Link Master Device Al1100 With Siemens Tia Portal Gallop Automation

Https Www Ifm Com Download Files Ifm Product Innovations Newsbook Ifmnovation Automation Technology 2018 Gb File Ifm Product Innovations Newsbook Ifmnovation Automation Technology 2018 Gb Pdf

Https Www Ifm Com Download Files Ifm Product Innovations Newsbook Ifmnovation Automation Technology 2018 Gb File Ifm Product Innovations Newsbook Ifmnovation Automation Technology 2018 Gb Pdf

Ifm Electronic Efector 300 Operating Instructions Manual Pdf Download Manualslib

Ifm Electronic Efector 300 Operating Instructions Manual Pdf Download Manualslib

How To Set Up A Continuous Pulse Signal On An Ifm Magmeter Youtube

How To Set Up A Continuous Pulse Signal On An Ifm Magmeter Youtube

Si1000 Flow Monitor Ifm Electronic

Si1000 Flow Monitor Ifm Electronic

Https Www Heatingandprocess Com Wp Content Uploads 2016 09 Ifm Electronic Sensors General Catalogue Part 2 Pdf

Https Www Heatingandprocess Com Wp Content Uploads 2016 09 Ifm Electronic Sensors General Catalogue Part 2 Pdf

Ifm Inclination Sensor Ec2082 R360 Inclinometer 4 20ma Ii

Ifm Inclination Sensor Ec2082 R360 Inclinometer 4 20ma Ii

Io Link We Connect You Catalogue 2018 Pdf Free Download

Io Link We Connect You Catalogue 2018 Pdf Free Download

Pk6534 Pressure Switch With Intuitive Switch Point Setting Ifm Electronic

Pk6534 Pressure Switch With Intuitive Switch Point Setting Ifm Electronic

Ugt513 Ultrasonic Sensor Ifm Electronic

Ugt513 Ultrasonic Sensor Ifm Electronic

Source : pinterest.com